You can not select more than 25 topics Topics must start with a chinese character,a letter or number, can include dashes ('-') and can be up to 35 characters long.
 
 
 
 
 
 
思通数科 StoneDT e7516ace82
update README.md.
4 years ago
.mvn/wrapper 提交 4 years ago
ProIMG 重命名 ProIMG/gongneng-jiagou.png.png 为 ProIMG/gongneng-jiagou.png 4 years ago
config update config/application.yml. 4 years ago
src 修改 4 years ago
.gitignore 提交 4 years ago
LICENSE add LICENSE. 4 years ago
README.md update README.md. 4 years ago
initialize_db_cache.sh 重命名 stonedt_portal.sql 为 initialize_db_cache.sh 4 years ago
mvnw 提交 4 years ago
mvnw.cmd 提交 4 years ago
pom.xml 提交 4 years ago
产品手册V1.0.pdf 产品手册 4 years ago

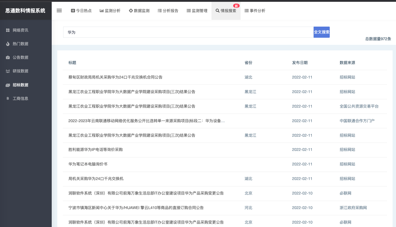
一款开源免费的舆情系统。 支持本地化部署,支持在线体验。 支持对海量舆情数据分析和挖掘。

JavaScript HTML Java CSS SVG other