Are you sure you want to delete this task? Once this task is deleted, it cannot be recovered.
|
|
4 years ago | |
|---|---|---|
| ProIMG | 4 years ago | |
| LICENSE | 4 years ago | |
| README.md | 4 years ago | |
| 产品手册V1.0.pdf | 4 years ago | |
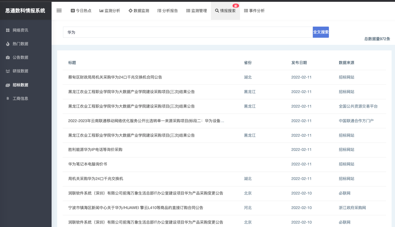
思通舆情 是一款开源免费的舆情系统,支持本地化部署。支持对海量舆情数据分析和挖掘。
https://gitee.com/stonedtx/yuqing/blob/master/%E4%BA%A7%E5%93%81%E6%89%8B%E5%86%8CV1.0.pdf
扫描微信二维码,技术交流。
微信号: techflag
电话: 13505146123
公司官网:www.stonedt.com
欢迎您在下方留言,或添加微信与我们交流。
一款开源免费的舆情系统。 支持本地化部署,支持在线体验。 支持对海量舆情数据分析和挖掘。
JavaScript HTML Java CSS SVG other