Are you sure you want to delete this task? Once this task is deleted, it cannot be recovered.
|
|
4 years ago | |
|---|---|---|
| .mvn/wrapper | 4 years ago | |
| ProIMG | 4 years ago | |
| config | 4 years ago | |
| src | 4 years ago | |
| .gitignore | 4 years ago | |
| LICENSE | 4 years ago | |
| README.md | 4 years ago | |
| dataCollection.md | 4 years ago | |
| dataProcessing.md | 4 years ago | |
| initialize_db_cache.sh | 4 years ago | |
| mvnw | 4 years ago | |
| mvnw.cmd | 4 years ago | |
| pom.xml | 4 years ago | |
| 产品手册V1.0.pdf | 4 years ago | |
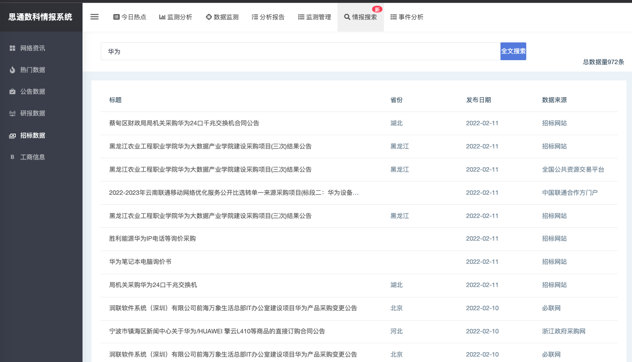
思通舆情 是一款开源免费的舆情系统,支持本地化部署。支持对海量舆情数据分析和挖掘。
无论你是使用者还是共同完善的开发者,欢迎 pull request 或者 留言对我们提出建议。
您的支持和参与就是我们坚持开源的动力!请 ⭐ star 或者 fork!
无论你是有相关经验、技术可以一起加入我们的开源项目。
同时还会将我们的项目计划和关键性技术讲解,毫无保留的公布于众,让大家对我们有更多的认识和了解。
想了解更多,可以看这两篇文章:
【数据采集】技术架构说明文档 和 【数据处理】技术架构说明文档 。
关于本舆情系统项目的 心路历程、开发计划、入门文档、团队介绍、实际案例,等等,
你想知道的一切都在这里: https://gitee.com/stonedtx/yuqing/wikis/pages
整个舆情系统分为三大部分:1.舆情数据展示,2.舆情数据处理,3.舆情数据采集。
由于整个舆情系统非常庞大,目前只开源了第一部分 “舆情数据展示”。
舆情数据处理 和 舆情数据采集,我们会先开源文档以及部分代码。
舆情数据处理 和 舆情数据采集,目前(2022-2-19)文档和代码正在规整中。
目前正在整理编写文档,正式发布时间待定。
文档预计在2022年3月份提到开源社区。
仅需三步快速安装 思通舆情:
1.安装MySQL、redis,执行建表 initialize_db_cache.sh 脚本。
2.下载 application.yml,并创建 config目录 与 stonedt-yuqing.jar 在同一个目录下,可修改配置文件参数。
3.下载 stonedt-yuqing.jar 程序,与 application.yml 在同目录下,执行 java -jar stonedt-yuqing.jar
用户名:13900000000
密码:stonedt
https://gitee.com/stonedtx/yuqing/blob/master/%E4%BA%A7%E5%93%81%E6%89%8B%E5%86%8CV1.0.pdf
当您在开发与研究中遇到 数据采集、数据处理、舆情系统定制 等方面的问题,请联系我们,我们会以最快的速度提供专业的解决方案。为您提供必要的专业技术支持。
服务流程如下
扫描微信二维码,技术交流。
微信号: techflag
电话: 13505146123
公司官网:www.stonedt.com
欢迎您在下方留言,或添加微信与我们交流。
Copyright (c) 2014-2022 思通数科 StoneDT, All rights reserved.
Licensed under The GNU General Public License version 3 (GPLv3) (the "License"); you may not use this file except in compliance with the License. You may obtain a copy of the License at
https://www.gnu.org/licenses/gpl-3.0.html
Unless required by applicable law or agreed to in writing, software distributed under the License is distributed on an "AS IS" BASIS, WITHOUT WARRANTIES OR CONDITIONS OF ANY KIND, either express or implied. See the License for the specific language governing permissions and limitations under the License.
一款开源免费的舆情系统。 支持本地化部署,支持在线体验。 支持对海量舆情数据分析和挖掘。
JavaScript HTML Java CSS SVG other